Pruchna
stacja
Pruchna (1855-)
Tablica przyjazdów |
Tablica odjazdów
Stacja powstała już w roku 1855. Oddano wtedy do użytku obszerny piętrowy budynek dworcowy, w którym mieściły się prócz poczekalni i kas biletowych również poczta, restauracja i mieszkania pracowników kolei. Obok wybudowano również magazyn przystacyjny z rampą. Przed rokiem 1869, kiedy to otwarto stację kolejową w Cieszynie (obecnie w Czeskim Cieszynie), między Pruchną a Cieszynem kursował konny omnibus dowożący pasażerów ze stacji do miasta i dyliżans pocztowy przewożący na tej trasie pocztę (połączenie autobusowe na trasie Cieszyn - stacja w Pruchnej utrzymywano też w latach 20. XX wieku).
W dniach 27-30 stycznia 1919 roku podczas walk polsko-czechosłowackich w rejonie stacji operował polski pociąg pancerny „Hallerczyk”, który uczestniczył m.in. w jej odbiciu z rąk wojsk czechosłowackich.
Od lutego do marca 1945 roku w rejonie stacji w Pruchnej miały miejsce działania frontowe i ciężkie walki między wycofującymi się wojskami niemieckimi a sowieckimi, w których budynek dworcowy został całkowicie zniszczony, a infrastruktura stacyjna mocno uszkodzona. Stacja została ostatecznie zdobyta przez wojska sowieckie 29 marca 1945 roku. Po zakończeniu walk odbudowano tory, a na potrzeby obsługi podróżnych wybudowano tymczasowe drewniane baraki mieszczące ogrzewaną poczekalnię, kasę biletową oraz pomieszczenia dyżurnego ruchu oraz zawiadowcy stacji.
Podczas elektryfikacji linii w pierwszej połowie lat 60. XX wieku nie zmodernizowano infrastruktury obsługi podróżnych, a istniejący do dziś budynek dworcowy przy ulicy Szerokiej 2 został wybudowany dopiero w roku 1980. Murowany, podpiwniczony obiekt osłonięty częściowo blachą falistą, mieścił kasy biletowe, poczekalnię i pomieszczenia obsługi stacji, a na dachu umieszczono neony z nazwą stacji. Od momentu zamknięcia poczekalni obiekt stał się niedostępny dla podróżnych, a część pomieszczeń rozpoczęto wynajmować różnym podmiotom (m.in. na bar piwny czy zakład produkcji mebli). W okresach kiedy nie prowadzono wynajmu niedozorowany budynek był systematycznie dewastowany.
Peron po stronie dworca (pierwszy, południowy) jest peronem niskim (0,4 metra nad główkę szyny) o długości 195 metrów z nawierzchnią z płyt betonowych.
6 lutego 1991 roku około godziny 17:55 miała miejsce na stacji katastrofa kolejowa, kiedy to pociąg pospieszny relacji Brno - Katowice prowadzony lokomotywą EU07-328 najechał na stojący na torze numer dwa pociąg towarowy relacji Zebrzydowice - Czarnolesie. Wagony wykoleiły się, 9 osób zostało rannych i zablokowana została jedyna w tej części kraju linia łącząca Czechosłowację z Polską. Straty oszacowano na blisko 517 mln ówczesnych złotych. Dochodzenie prokuratorskie wykazało, że winną zdarzenia była nietrzeźwa (1,64 promila alkoholu we krwi, w kolejnym badaniu 1,72 promila) dyżurna ruchu na stacji Pruchna (jak się później okazało cierpiała ona również na chorobę psychiczną, o której wiedział lekarz zakładowy, jednakże nie odsunął jej od wykonywania czynności), która wydała pracownikowi nastawni wykonawczej polecenie zapalenia zielonego światła na semaforze wjazdowym na zajętym przez pociąg towarowy torze. Otrzymała ona zarzut spowodowania katastrofy w ruchu lądowym, a zarzut nieumyślnego spowodowania katastrofy przedstawiono również nastawniczemu (nie upewnił się, że tor nr 2 jest wolny). Przebieg akcji ratunkowej obnażył również ówczesny fatalny stan zarządzania PKP i brak koordynacji działań: co prawda ranni zostali podjęci przez wezwane karetki pogotowia, jednakże pozostali podróżni czekali na pomoc w dwunastostopniowym mrozie kilka godzin, gdyż szefowie Rejonu Przewozów z Bielska-Białej pojawili się na miejscu dopiero po godzinie 20. Dopiero wówczas podjęto działania zmierzające do ustalenia dalszego transportu dla oczekujących. Ostatecznie pojechali oni dalej o godzinie 21:30 autobusami cukrowni w Chybiu, gdyż dyspozytor PKS w Cieszynie odmówił podstawienia własnych środków transportu.
W ramach wykonanego w roku 2002 przez Przedsiębiorstwo Robót Kolejowych i Inżynieryjnych S.A. we Wrocławiu remontu peronu drugiego (północnego) wybudowano nową wysoką krawędź peronową o długości 200 metrów z nawierzchnią z betonowych kostek, na której zabudowano wiatę, oświetlenie oraz zegar. Nie zaplanowano jednak przejścia między peronami i aby dostać się na nowy peron z okolic budynku dworcowego trzeba było pokonać kilkaset metrów do przejścia pod wiaduktem kolejowym nad ulicą Lipową. W związku z powyższym, rozkładowo wszystkie pociągi osobowe zatrzymywały się i tak przy niewyremontowanym peronie pierwszym (peron drugi był jednak przygotowany do przyjęcia pociągów i wykorzystywany w sytuacji ograniczenia przepustowości peronu nr 1).
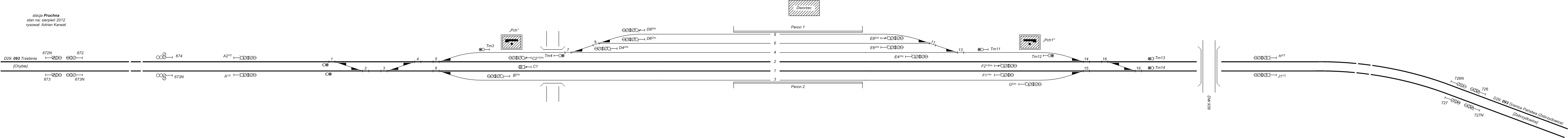
Stacja posiada sześć torów głównych, a ruch pociągów prowadzony jest przez nastawnie „Pch” i „Pch1”, posiadające urządzenia mechaniczne scentralizowane z sygnalizacją świetlną. Wszystkie rozjazdy wyposażone są w napędy elektryczne.
5 kwietnia 2024 roku PKP PLK podpisały umowę z konsorcjum firm: Trakcja S.A. (lider), Pomorskie Przedsiębiorstwo Mechaniczno-Torowe sp. z o.o. (partner) oraz ALSTOM ZWUS sp. z o.o. (partner) na przebudowę przystanku w ramach zadania „Prace na podstawowych ciągach pasażerskich (E 30 i E 65) na obszarze Śląska, Etap I linia E 65 na odcinku Zabrzeg - Zebrzydowice (granica państwa)”.
W jej ramach stacja zdegradowana zostanie do rangi przystanku osobowego, a przebudowie ulegną oba perony, które zostaną przeniesione do nowej lokalizacji po obu stronach wiaduktu nad ulicą Lipową. Na peronach powstaną nowe wiaty, ławki oraz elementy informacji pasażerskiej, a dostęp do nich zapewnią schody oraz pochylnie. Wprowadzone zostaną również ścieżki naprowadzające dla osób niewidomych i niedowidzących.
Zgodnie z danymi Urzędu Transportu Kolejowego dobowa wymiana pasażerska (czyli liczba podróżnych wsiadających i wysiadających każdej doby) na stacji w latach 2017-2021 wynosiła 0 - 9 osób, w latach 2022-2023 10 - 19 osób, a w roku 2024 20 - 49 osób.
Położona jest na wysokości 263 m n.p.m.
Stacja powstała już w roku 1855. Oddano wtedy do użytku obszerny piętrowy budynek dworcowy, w którym mieściły się prócz poczekalni i kas biletowych również poczta, restauracja i mieszkania pracowników kolei. Obok wybudowano również magazyn przystacyjny z rampą. Przed rokiem 1869, kiedy to otwarto stację kolejową w Cieszynie (obecnie w Czeskim Cieszynie), między Pruchną a Cieszynem kursował konny omnibus dowożący pasażerów ze stacji do miasta i dyliżans pocztowy przewożący na tej trasie pocztę (połączenie autobusowe na trasie Cieszyn - stacja w Pruchnej utrzymywano też w latach 20. XX wieku).
W dniach 27-30 stycznia 1919 roku podczas walk polsko-czechosłowackich w rejonie stacji operował polski pociąg pancerny „Hallerczyk”, który uczestniczył m.in. w jej odbiciu z rąk wojsk czechosłowackich.
Od lutego do marca 1945 roku w rejonie stacji w Pruchnej miały miejsce działania frontowe i ciężkie walki między wycofującymi się wojskami niemieckimi a sowieckimi, w których budynek dworcowy został całkowicie zniszczony, a infrastruktura stacyjna mocno uszkodzona. Stacja została ostatecznie zdobyta przez wojska sowieckie 29 marca 1945 roku. Po zakończeniu walk odbudowano tory, a na potrzeby obsługi podróżnych wybudowano tymczasowe drewniane baraki mieszczące ogrzewaną poczekalnię, kasę biletową oraz pomieszczenia dyżurnego ruchu oraz zawiadowcy stacji.
Podczas elektryfikacji linii w pierwszej połowie lat 60. XX wieku nie zmodernizowano infrastruktury obsługi podróżnych, a istniejący do dziś budynek dworcowy przy ulicy Szerokiej 2 został wybudowany dopiero w roku 1980. Murowany, podpiwniczony obiekt osłonięty częściowo blachą falistą, mieścił kasy biletowe, poczekalnię i pomieszczenia obsługi stacji, a na dachu umieszczono neony z nazwą stacji. Od momentu zamknięcia poczekalni obiekt stał się niedostępny dla podróżnych, a część pomieszczeń rozpoczęto wynajmować różnym podmiotom (m.in. na bar piwny czy zakład produkcji mebli). W okresach kiedy nie prowadzono wynajmu niedozorowany budynek był systematycznie dewastowany.
Peron po stronie dworca (pierwszy, południowy) jest peronem niskim (0,4 metra nad główkę szyny) o długości 195 metrów z nawierzchnią z płyt betonowych.
6 lutego 1991 roku około godziny 17:55 miała miejsce na stacji katastrofa kolejowa, kiedy to pociąg pospieszny relacji Brno - Katowice prowadzony lokomotywą EU07-328 najechał na stojący na torze numer dwa pociąg towarowy relacji Zebrzydowice - Czarnolesie. Wagony wykoleiły się, 9 osób zostało rannych i zablokowana została jedyna w tej części kraju linia łącząca Czechosłowację z Polską. Straty oszacowano na blisko 517 mln ówczesnych złotych. Dochodzenie prokuratorskie wykazało, że winną zdarzenia była nietrzeźwa (1,64 promila alkoholu we krwi, w kolejnym badaniu 1,72 promila) dyżurna ruchu na stacji Pruchna (jak się później okazało cierpiała ona również na chorobę psychiczną, o której wiedział lekarz zakładowy, jednakże nie odsunął jej od wykonywania czynności), która wydała pracownikowi nastawni wykonawczej polecenie zapalenia zielonego światła na semaforze wjazdowym na zajętym przez pociąg towarowy torze. Otrzymała ona zarzut spowodowania katastrofy w ruchu lądowym, a zarzut nieumyślnego spowodowania katastrofy przedstawiono również nastawniczemu (nie upewnił się, że tor nr 2 jest wolny). Przebieg akcji ratunkowej obnażył również ówczesny fatalny stan zarządzania PKP i brak koordynacji działań: co prawda ranni zostali podjęci przez wezwane karetki pogotowia, jednakże pozostali podróżni czekali na pomoc w dwunastostopniowym mrozie kilka godzin, gdyż szefowie Rejonu Przewozów z Bielska-Białej pojawili się na miejscu dopiero po godzinie 20. Dopiero wówczas podjęto działania zmierzające do ustalenia dalszego transportu dla oczekujących. Ostatecznie pojechali oni dalej o godzinie 21:30 autobusami cukrowni w Chybiu, gdyż dyspozytor PKS w Cieszynie odmówił podstawienia własnych środków transportu.
W ramach wykonanego w roku 2002 przez Przedsiębiorstwo Robót Kolejowych i Inżynieryjnych S.A. we Wrocławiu remontu peronu drugiego (północnego) wybudowano nową wysoką krawędź peronową o długości 200 metrów z nawierzchnią z betonowych kostek, na której zabudowano wiatę, oświetlenie oraz zegar. Nie zaplanowano jednak przejścia między peronami i aby dostać się na nowy peron z okolic budynku dworcowego trzeba było pokonać kilkaset metrów do przejścia pod wiaduktem kolejowym nad ulicą Lipową. W związku z powyższym, rozkładowo wszystkie pociągi osobowe zatrzymywały się i tak przy niewyremontowanym peronie pierwszym (peron drugi był jednak przygotowany do przyjęcia pociągów i wykorzystywany w sytuacji ograniczenia przepustowości peronu nr 1).
Stacja posiada sześć torów głównych, a ruch pociągów prowadzony jest przez nastawnie „Pch” i „Pch1”, posiadające urządzenia mechaniczne scentralizowane z sygnalizacją świetlną. Wszystkie rozjazdy wyposażone są w napędy elektryczne.
5 kwietnia 2024 roku PKP PLK podpisały umowę z konsorcjum firm: Trakcja S.A. (lider), Pomorskie Przedsiębiorstwo Mechaniczno-Torowe sp. z o.o. (partner) oraz ALSTOM ZWUS sp. z o.o. (partner) na przebudowę przystanku w ramach zadania „Prace na podstawowych ciągach pasażerskich (E 30 i E 65) na obszarze Śląska, Etap I linia E 65 na odcinku Zabrzeg - Zebrzydowice (granica państwa)”.
W jej ramach stacja zdegradowana zostanie do rangi przystanku osobowego, a przebudowie ulegną oba perony, które zostaną przeniesione do nowej lokalizacji po obu stronach wiaduktu nad ulicą Lipową. Na peronach powstaną nowe wiaty, ławki oraz elementy informacji pasażerskiej, a dostęp do nich zapewnią schody oraz pochylnie. Wprowadzone zostaną również ścieżki naprowadzające dla osób niewidomych i niedowidzących.
Zgodnie z danymi Urzędu Transportu Kolejowego dobowa wymiana pasażerska (czyli liczba podróżnych wsiadających i wysiadających każdej doby) na stacji w latach 2017-2021 wynosiła 0 - 9 osób, w latach 2022-2023 10 - 19 osób, a w roku 2024 20 - 49 osób.
Położona jest na wysokości 263 m n.p.m.
Galeria współczesna (kliknij aby powiększyć zdjęcie)
Zaktualizowano 27 października 2025 roku
Copyright © Koleje Śląska Cieszyńskiego 2007-
Koleje Śląska Cieszyńskiego Koleje Śląska Cieszyńskiego Koleje Śląska Cieszyńskiego Koleje Śląska Cieszyńskiego Koleje Śląska Cieszyńskiego Koleje Śląska Cieszyńskiego Koleje Śląska Cieszyńskiego
Koleje Śląska Cieszyńskiego Koleje Śląska Cieszyńskiego Koleje Śląska Cieszyńskiego Koleje Śląska Cieszyńskiego Koleje Śląska Cieszyńskiego Koleje Śląska Cieszyńskiego Koleje Śląska Cieszyńskiego

























